药友制药拿下35亿大品种
▼内容转载自《米内网》微信公众号推文,作者:君臣佐使
近日,国家药监局官网显示,重庆药友制药以仿制4类申报的阿司匹林肠溶片获批生产并视同过评,该产品2021年在中国三大终端6大市场(统计范围详见本文末)合计销售规模超过35亿元。阿司匹林口服常释剂型暂未纳入集采,目前已满足4家及以上的充分竞争条件。
来源:国家药监局官网
阿司匹林肠溶片具有解热、镇痛、抑制血小板聚集等作用,可用于缓解轻中度的疼痛,也可治疗和预防短暂脑缺血发作、脑血栓、冠心病、心肌梗塞、偏头疼、血栓闭塞性脉管炎等。
国内有两百多家药企拥有阿司匹林肠溶片生产批文。米内网数据显示,该产品2021年在中国三大终端6大市场合计销售规模超过35亿元,同比增长约1.2%。从细分终端看,公立医院终端占主导地位,但随着市场下沉,公立基层医疗终端占比逐年攀升。
近年来中国三大终端6大市场阿司匹林肠溶片销售情况(单位:万元)
/>
来源:米内网格局数据库
从厂家竞争格局看,不管是院内市场还是院外市场,阿司匹林肠溶片均由原研厂家拜耳主导市场。
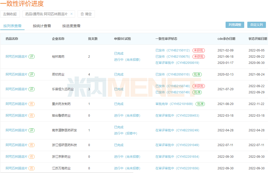
阿司匹林肠溶片一致性评价开展情况
/>
来源:米内网新版数据库
目前已有辰欣药业、乐普恒久远、重庆药友制药3家药企的阿司匹林肠溶片通过或视同通过一致性评价,该产品暂未纳入国家集采,目前已满足3+1的充分竞争条件。
2022年至今重庆药友制药获批上市的仿制药
/>
来源:米内网新版数据库
今年以来,重庆药友制药有3款新分类报产的仿制药获批生产并视同过评,其中阿卡波糖片、注射用奥美拉唑钠均为消化系统及代谢药。
资料来源:米内网数据库、国家药监局官网等





